空調電子膨脹閥的工作原理及使用注意事項
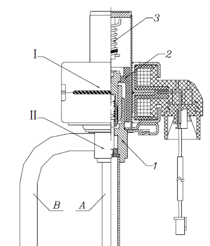
電子膨脹閥由PM 型步進電機線圈(Ⅰ)和帶有磁性轉子的閥體(Ⅱ)組成。其中閥體由閥座部件(1)、轉子部件(2)和止動部件(3)三部分組成。電動驅動器根據從控制系統接收到的信號來調整針閥的位置,進而改變制冷劑通過閥門的截面積,達到控制制冷劑流量的目的。

電子膨脹閥使用注意事項
工作電壓范圍:線圈的工作電壓應在 DC12V ±10% 的范圍內,采用 1 至 2 相勵磁及單極驅動方式。確保電源穩定可靠,避免電壓波動過大影響設備性能。安裝方向:閥門應垂直安裝,確保線圈朝上,并將其傾斜角度控制在 15° 以內。這有助于提高閥門的運行效率并減少故障率。
線圈固定:線圈通過閥體定位片的凸點與線圈定位卡的凹槽配合來固定。確保固定牢固,避免因振動導致松動。焊接保護:進行焊接操作時,需采取適當的保護措施,以確保閥體溫度不超過 120°C。建議使用隔熱材料包裹非焊接區域,以防止熱量傳遞至敏感部件。內部清潔:在維修過程中,務必保持閥體內部的清潔,防止雜質和水分等異物進入閥體,以免影響正常運行。定期檢查并清理過濾器,必要時更換。全開脈沖:全開脈沖次數通常是指將閥門從完全關閉狀態打開所需的脈沖數,具體次數為 500 次左右。請注意,實際次數可能會根據具體應用和閥門型號有所不同。
更多有關制冷的相關資訊,請登錄銀海松官網m.czdsbox.cn查看,或者撥打電話010-66531607來向銀海松的工程師咨詢。北京銀海松科技有限公司,專注工業制冷行業21年,經營銷售空調制冷壓縮機,冷庫制冷壓縮機等應用于各種工業制冷工況的谷輪壓縮機。銀海松2011年開始和艾默生環境優化技術合作,代理銷售艾默生谷輪制冷壓縮機的全系列產品,以及艾默生制冷壓縮機組和艾默生制冷配件。另外銀海松還從事制冷壓縮機組的生產制造,以及提供制冷工程的方案設計和施工,制冷設備的保養維修等服務。









微信交流 溝通更方便